Home / Products / Mechanical seals / O-ring Pushers seals / Type V111.7
TYPE V111.7
APPLICATION
Mechanical seal type V111.7 has a very short (axial) installation length.
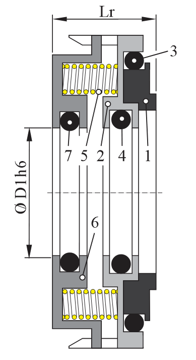
| Item | Description |
| 1. | Rotary seal ring |
| 2. | Rotary seal ring carrier |
| 3. | Secondary seal |
| 4. | Secondary seal |
| 5. | Spring |
| 6. | Housing |
| 7. | O-ring |
| LIMITING FACTORS |
| D1= 15… 80 mm |
| p1= 25 (40) bar |
| t= -40°… 204°C |
| Vg= 17 m/s |
| pV= 255 bar m/s |
Features
Unbalanced mechanical seal
Independent of the shaft rotating direction
Materials
Seal face: SiC, Carbon
Stationary seat: SiC, TC
Secondary seal: NBR, FPM, EPDM, FEP, Aflas
Spring: 1.4310 (304)
Metal Parts: 316L
Optional material on request
If you have any questions or concerns about the MECHANICAL SEALS, please feel free to call or send us a message.

